Артикул: 24582-643
В наличии
Отправить заявку на расчет КП
Товар добавлен в корзину:
RatiopacPRO Style, Front and Rear Trim, Standard Screwing, 6 U, 84 HP, 415,5 mm
- Desktop case with protective frame design and rubber strips on the top and bottom for a secure stand and with integrated stacking function
- Case for 19" components (guide rails) or proprietary components (mounting plate)
- To establish EMC-shielding, additional components need to be added to the enclosure
- Front and rear side prepared for front panel mounting with collar screws and sleeves
- Perforated bottom cover for air-cooling
- No visible screws; cladding parts removable without tools
- For board depth 160 mm, 220 mm, 280 mm and 340 mm (depending on case depth)
Certification
Руководство по установке / Инструкция
Delivery of this product includes the following item(s):
| Item | Description | Quantity | |
|---|---|---|---|
| 1 | Side panel, AI, 2 mm, passivated | 2 | |
| 2 | Side cover, Al, 1 mm, visible surface RAL 7016 | 2 | |
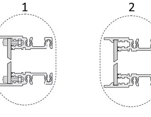
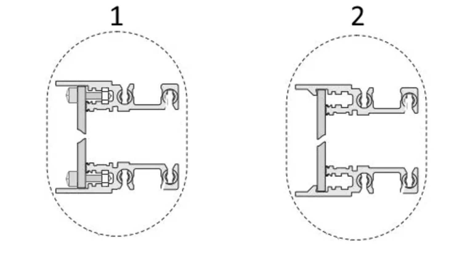
| 3 | Front Trim, die-cast zinc, RAL 9006 | 2 | |
| 4 | Rear Trim, die-cast zinc, RAL 9006 | 2 | |
| 5a | Horizontal rail, type H-LD, Al, visible surfaces powder coated, RAL 7016, assembled on front side bottom, for IEEE application | 2 | |
| 6 | Horizontal rail, type H-LD, Al, visible surfaces powder coated, RAL 7016 | 2 | |
| 7 | Rubber Strip, RAL 3000 | 4 | |
| 8 | Bottom cover with round perforation Ø 2.3 mm, Al, 1 mm, internal surface conductive, visible surface RAL 7016, with GND/earthing connection | 1 | |
| 9 | Top Cover, Al, 1 mm, Surface RAL 7016, with GND/earthing connection | 1 | |
| 10 | Depth profile, Al-profile, RAL 9006 | 4 | |
| 11 | Fixing materials kit and user manual | 1 |
Ваша корзина
Ваша корзина пуста
Обратите внимание
Штекер защиты для 1 пары ComProtect 2/1 СР HGВ 180А1
Цена: 0 руб.
Акции и Скидки
Цена: 0 руб.
Коробка KVK на 20 плинтов LSA-PLUS, без хомутов
Цена: 8692 руб.
LSA-PROFIL размыкаемый плинт 2/10, маркировка 0…9 (6089 1 121-06)
Цена: 784.5 руб.
LSA-PROFIL cтойка универсальная 1480 пар
Цена: 37800 руб.
